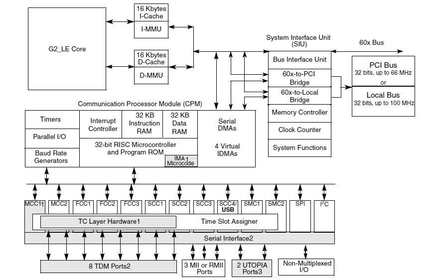
Product Summary
The MPC8280ZUUPEA is a number of PowerQUICC II Family. It contains detailed information about power considerations, DC/AC electrical characteristics, and AC timing specifications.
Parametrics
MPC8280ZUUPEA absolute maximum ratings: (1)Core supply voltage VDD: -0.3 – 2.25 V; (2)PLL supply voltage VCCSYN: -0.3 – 2.25 V; (3)I/O supply voltage VDDH: -0.3 – 4.0 V; (4)Input voltage VIN: GND(-0.3) – 3.6 V; (5)Junction temperature Tj: 120 ℃; (6)Storage temperature range TSTG: (-55) – (+150) ℃.
Features
MPC8280ZUUPEA features: (1)Supports USB 2.0 full/low rate compatible; (2)USB host mode; (3)Supports control, bulk, interrupt, and isochronous data transfers; (4)CRC16 generation and checking; (5)NRZI encoding/decoding with bit stuffing; (6)Supports both 12- and 1.5-Mbps data rates (automatic generation of preamble token and data rate configuration); (7)Flexible data buffers with multiple buffers per frame; (8)Supports local loopback mode for diagnostics (12 Mbps only); (9)Supports USB slave mode.
Diagrams

| Image | Part No | Mfg | Description | ![]() |
Pricing (USD) |
Quantity | ||||||||
|---|---|---|---|---|---|---|---|---|---|---|---|---|---|---|
![]() |
![]() MPC8280ZUUPEA |
![]() Freescale Semiconductor |
![]() Microprocessors (MPU) PQ II HIP 7 REV A |
![]() Data Sheet |
![]()
|
|
||||||||
| Image | Part No | Mfg | Description | ![]() |
Pricing (USD) |
Quantity | ||||||||
![]() |
![]() MPC800 |
![]() Other |
![]() |
![]() Data Sheet |
![]() Negotiable |
|
||||||||
![]() |
![]() MPC801 |
![]() Other |
![]() |
![]() Data Sheet |
![]() Negotiable |
|
||||||||
![]() |
![]() MPC801KG |
![]() Other |
![]() |
![]() Data Sheet |
![]() Negotiable |
|
||||||||
![]() |
![]() mPC8104GR |
![]() Other |
![]() |
![]() Data Sheet |
![]() Negotiable |
|
||||||||
![]() |
![]() mPC8106TB |
![]() Other |
![]() |
![]() Data Sheet |
![]() Negotiable |
|
||||||||
![]() |
![]() mPC8109TB |
![]() Other |
![]() |
![]() Data Sheet |
![]() Negotiable |
|
||||||||
(China (Mainland))










