Product Summary
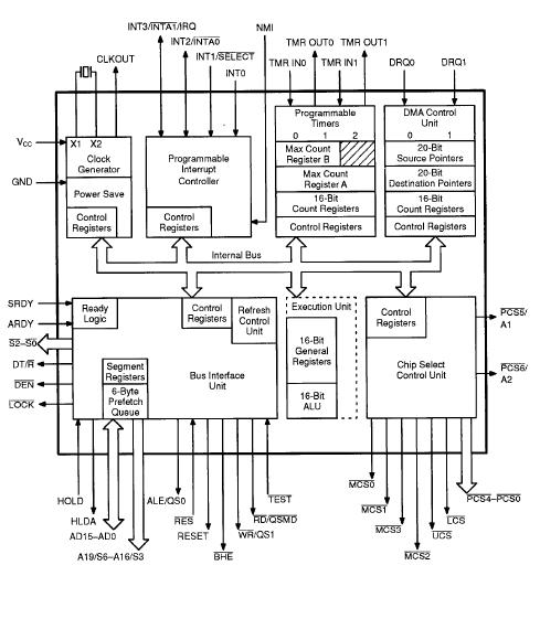
The N80C186-20 is a CMOS high-integration microprocessor. It has features include a DRAM refresh control unit, and power-save mode. When used in compatible mode, the N80C186-20 is 100% pin-for-pin compatible with the NMOS. The enhanced mode of operation allows the full feature set of N80C186-20 to be used. The device is upward compatible with 8086 soft ware and fully compatible with 80186 software.
Parametrics
N80C186-20 absolute maximum ratings: (1)ambient temperature under bias, commercial, TA: 0 to 70℃; industrial, TA-ND: -40 to 85℃; (2)storage temeprature: -65 to 150℃; (3)voltage on any pin with respect to ground: -1.0 to 7.0V; (4)package power dissipation: 1W.
Features
N80C186-20 features: (1)enhanced 80C86/C88 CPU; (2)clock generator; (3)two independent DMA channels; (4)programmable interrupt controller; (5)three programmable 16-bit timers; (6)dynamic RAM regresh control unit; (7)programmable memory and peripheral chip select logic; (8)programmable wait-state generator; (9)local bus controller; (10)power-save mode; (11)system-level testing support (high-impedance test mode); (12)avaliable in 25MHz, 20MHz, 16MHz, 12.5MHz, and 10MHz versions; (13)direct addressing capability to 1Mbyte of memory and 64Kbyte I/O; (14)fully static CMOS design.
Diagrams

![]() |
![]() N80C186-25 |
![]() Other |
![]() |
![]() Data Sheet |
![]() Negotiable |
|
||||
![]() |
![]() N80C186EA25 |
![]() |
![]() IC MPU 16-BIT 5V 25MHZ 68-PLCC |
![]() Data Sheet |
![]() Negotiable |
|
||||
![]() |
![]() N80C186EB25 |
![]() |
![]() IC MPU 16-BIT 5V 25MHZ 84-PLCC |
![]() Data Sheet |
![]() Negotiable |
|
||||
![]() |
![]() N80C186XL12 |
![]() |
![]() IC MPU 16BIT 5V 12MHZ 68PLCC |
![]() Data Sheet |
![]() Negotiable |
|
||||
![]() |
![]() N80C186XL20 |
![]() |
![]() IC MPU 16BIT 5V 20MHZ 68PLCC |
![]() Data Sheet |
![]() Negotiable |
|
||||
![]() |
![]() N80C186XL25 |
![]() |
![]() IC MPU 16-BIT 5V 25MHZ 68-PLCC |
![]() Data Sheet |
![]() Negotiable |
|
||||
(China (Mainland))








