Product Summary
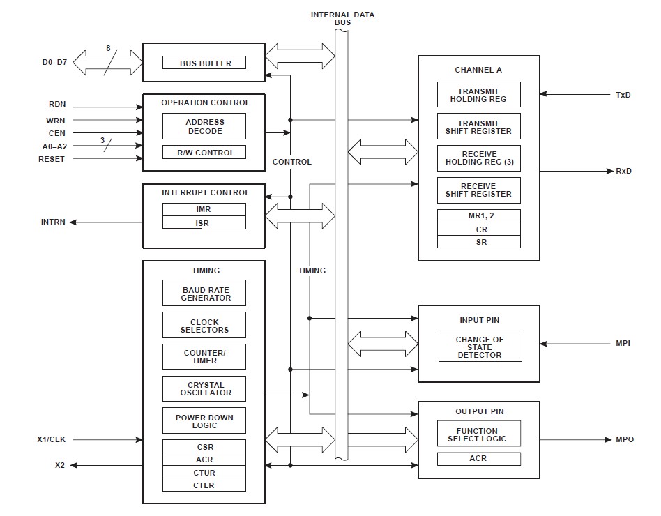
The Philips Semiconductors SCC2691AC1N24 Universal Asynchronous Receiver/Transmitter (UART) is a single-chip CMOS-LSI communications device that provides a full-duplex asynchronous receiver/transmitter. It is fabricated with Philips Semiconductors CMOS technology which combines the benefits of high density and low power consumption. The operating speed of the receiver and transmitter SCC2691AC1N24 can be selected independently as one of 18 fixed baud rates, a 16X clock derived from a programmable counter/timer, or an external 1X or 16X clock. The baud rate generator and counter/timer can operate directly from a crystal or from external clock inputs. The ability of the SCC2691AC1N24 to independently program the operating speed of the receiver and transmitter make the UART particularly attractive for dual-speed channel applications such as clustered terminal systems.
Parametrics
SCC2691AC1N24 absolute maximum ratings: (1)TSTG Storage temperature range: –65 to +150 ℃; (2)VCC Voltage from VCC to GND3: –0.5 to + 7.0 V; (3)VS Voltage from any pin to ground: –0.5 to VCC +10% V; (4)PD Power Dissipation: 300 mW.
Features
SCC2691AC1N24 features: (1)Full-duplex asynchronous receiver/transmitter; (2)Quadruple buffered receiver data register; (3)Programmable data format; (4)16-bit programmable Counter/Timer; (5)Parity, framing, and overrun detection; (6)False start bit detection; (7)Line break detection and generation; (8)Programmable channel mode; (9)Multi-function programmable 16-bit counter/timer.
Diagrams

| Image | Part No | Mfg | Description | ![]() |
Pricing (USD) |
Quantity | ||||||||||||
|---|---|---|---|---|---|---|---|---|---|---|---|---|---|---|---|---|---|---|
![]() |
![]() SCC2691AC1N24,129 |
![]() NXP Semiconductors |
![]() UART Interface IC 5V INDSTRL UART 1 C |
![]() Data Sheet |
![]()
|
|
||||||||||||
![]() |
![]() SCC2691AC1N24,602 |
![]() NXP Semiconductors |
![]() UART Interface IC 1CH. 5V IND. UART |
![]() Data Sheet |
![]()
|
|
||||||||||||
![]() |
![]() SCC2691AC1N24-S |
![]() NXP Semiconductors |
![]() UART Interface IC 5V INDSTRL UART 1 C |
![]() Data Sheet |
![]() Negotiable |
|
||||||||||||
(China (Mainland))









