Product Summary
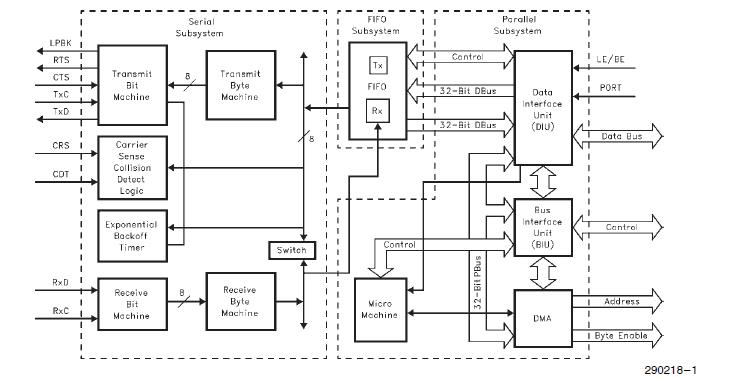
The KU82596CA33 is a high-performance 32-bit local area network coprocessor.
Parametrics
KU82596CA33 absolute maximum ratings: (1)Storage Temperature: 65℃ to +150℃; (2)Case Temperature under Bias: -65℃ to +110℃; (3)Supply Voltage with Respect to VSS: -0.5V to +6.5V; (4)Voltage on Other Pins: -0.5V to VCC +0.5V.
Features
KU82596CA33 features: (1)Performs Complete CSMA/CD Medium Access Control (MAC) Functions Independently of CPU; (2)Supports Industry Standard LANs; (3)On-Chip Memory Management; (4)Network Management and Diagnostics; (5)82586 Software Compatible; (6)Self-Test Diagnostics; (7)Configurable Initialization Root for Data Structures; (8)High-Speed, 5V, CHMOS IV Technology; (9)132-Pin Plastic Quad Flat Pack (PQFP) and PGA Package.
Diagrams

| Image | Part No | Mfg | Description | ![]() |
Pricing (USD) |
Quantity | ||||||||||||||
|---|---|---|---|---|---|---|---|---|---|---|---|---|---|---|---|---|---|---|---|---|
![]() |
![]() KU82596CA33SZ717 |
![]() Intel |
![]() IC LAN COPROC 5V 33MHZ 132-QFP |
![]() Data Sheet |
![]() Negotiable |
|
||||||||||||||
| Image | Part No | Mfg | Description | ![]() |
Pricing (USD) |
Quantity | ||||||||||||||
![]() |
![]() KU82596CA33SZ717 |
![]() Intel |
![]() IC LAN COPROC 5V 33MHZ 132-QFP |
![]() Data Sheet |
![]() Negotiable |
|
||||||||||||||
![]() KU82596DX33SZ715 |
![]() Intel |
![]() IC LAN COPROC 5V 33MHZ 132-QFP |
![]() Data Sheet |
![]() Negotiable |
|
|||||||||||||||
![]() |
![]() KU82596SX20SZ713 |
![]() Intel |
![]() IC LAN COPROC 5V 20MHZ 132-QFP |
![]() Data Sheet |
![]() Negotiable |
|
||||||||||||||
![]() KU82596DX25SZ714 |
![]() |
![]() IC LAN COPROC 5V 25MHZ 132-QFP |
![]() Data Sheet |
![]()
|
|
|||||||||||||||
![]() KU82596CA25SZ716 |
![]() |
![]() IC LAN COPROC 5V 25MHZ 132-QFP |
![]() Data Sheet |
![]() Negotiable |
|
|||||||||||||||
(China (Mainland))









