Product Summary
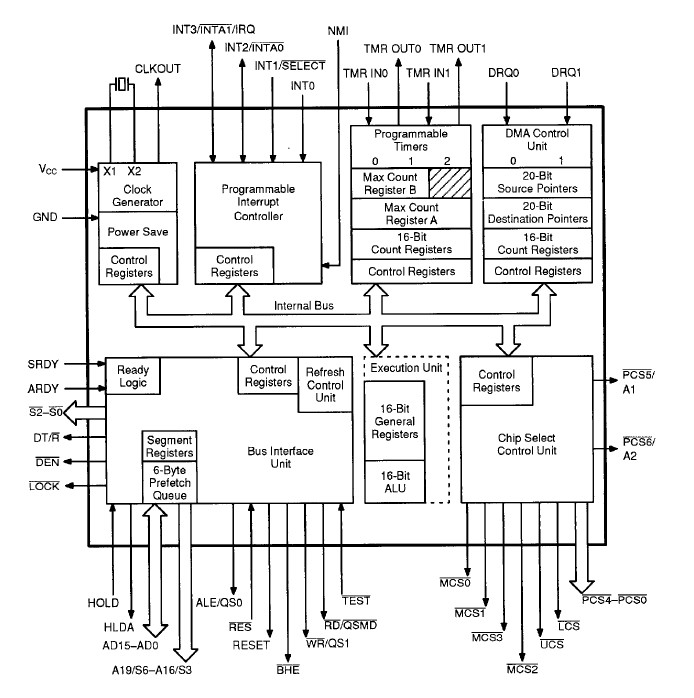
The N80C186-16 is a CMOS high-intergration microprocessor. It has features that are new to the N80C186 family, which include a DRAM refresh control unit, and power save mode. When used in "compatible" mode, the N80C186-16 is 100% pin-for-pin compatible with the NMOS N80C186. The enhanced mode of operation allows the full feature set of the N80C186 to be used. The N80C186-16 is upward compatible with N80C186 software and fully compatible with N80C186 software.
Parametrics
N80C186-16 maximum ratings: (1)Ambient temperature under bias commercial: 0 to 70℃; (2)Industrial: -40 to 85℃; (3)Storage temperature: -65 to 150℃; (4)Voltage on any pin with: -1.0 to 7.0V; (5)Package power dissipation: 1W.
Features
N80C186-16 features: (1)Operation modes include; (2)Intergrated feature set; (3)Available in 25MHz, 20MHz, 16MHz, 12.5MHz and 10MHz versions; (4)Direct addressing capability to 1Mbyte of memory and 64 Kbyte I/O; (5)Fully stactic CMOS design; (6)Completely object code compatible with all existing 8086/8088 software. Has ten additional instructions over 8086/8088.
Diagrams

![]() |
![]() N80C186-25 |
![]() Other |
![]() |
![]() Data Sheet |
![]() Negotiable |
|
||||
![]() |
![]() N80C186EA25 |
![]() |
![]() IC MPU 16-BIT 5V 25MHZ 68-PLCC |
![]() Data Sheet |
![]() Negotiable |
|
||||
![]() |
![]() N80C186EB25 |
![]() |
![]() IC MPU 16-BIT 5V 25MHZ 84-PLCC |
![]() Data Sheet |
![]() Negotiable |
|
||||
![]() |
![]() N80C186XL12 |
![]() |
![]() IC MPU 16BIT 5V 12MHZ 68PLCC |
![]() Data Sheet |
![]() Negotiable |
|
||||
![]() |
![]() N80C186XL20 |
![]() |
![]() IC MPU 16BIT 5V 20MHZ 68PLCC |
![]() Data Sheet |
![]() Negotiable |
|
||||
![]() |
![]() N80C186XL25 |
![]() |
![]() IC MPU 16-BIT 5V 25MHZ 68-PLCC |
![]() Data Sheet |
![]() Negotiable |
|
||||
(China (Mainland))








