Product Summary
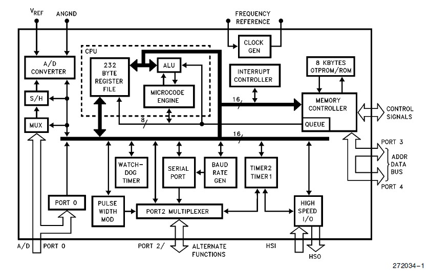
The N80C19816 offers low-cost entry into Intel powerful MCSé-96 16-bit microcontroller architecture. Intel CHMOS process provides a high performance processor along with low power consumption. To further reduce power requirements, the processor can be placed into Idle or Powerdown Mode. The N80C19816 is the 8-bit bus version of the 8XC196KB. The prefixes mean: 80 (ROMless), 83 (ROM), 87 (OTP) One Time Programmable. The ROM and OTP of the N80C19816 are available in 8 Kbytes. Bit, byte, word and some 32-bit operations are available on the 8XC198. With a 16 MHz oscillator a 16-bit addition takes 0.50 ms, and the instruction times average 0.37 ms to 1.1 ms in typical applications.
Parametrics
N80C19816 absolute maximum ratings: (1)Ambient Temperature under: -55℃ to +125℃; (2)Storage Temperature: -65℃ to +150℃; (3)Voltage on VPP or EA to VSS or ANGND: -0.3V to +13.0V; (4)Voltage on Any Other Pin to VSS +0.5V to +7.0V; (5)Power Dissipation: 1.5W.
Features
N80C19816 features: (1)8 Kbytes of On-Chip OTPROM or ROM; (2)232 Byte Register File; (3)Register-to-Register Architecture; (4)28 Interrupt Sources/16 Vectors; (5)1.75 ms 16 x 16 Multiply (16 MHz); (6)3.0 ms 32/16 Divide (16 MHz); (7)Powerdown and Idle Modes; (8)16-Bit Watchdog Timer; (9)8-Bit External Bus; (10)16 MHz Standard; (11)Full Duplex Serial Port; (12)High Speed I/O Subsystem; (13)16-Bit Timer; (14)16-Bit Counter; (15)Pulse-Width-Modulated Output; (16)Four 16-Bit Software Timers; (17)10-Bit A/D Converter with Sample/Hold; (18)Extended Temperature Available.
Diagrams

![]() |
![]() N80C186-25 |
![]() Other |
![]() |
![]() Data Sheet |
![]() Negotiable |
|
||||
![]() |
![]() N80C186EA25 |
![]() |
![]() IC MPU 16-BIT 5V 25MHZ 68-PLCC |
![]() Data Sheet |
![]() Negotiable |
|
||||
![]() |
![]() N80C186EB25 |
![]() |
![]() IC MPU 16-BIT 5V 25MHZ 84-PLCC |
![]() Data Sheet |
![]() Negotiable |
|
||||
![]() |
![]() N80C186XL12 |
![]() |
![]() IC MPU 16BIT 5V 12MHZ 68PLCC |
![]() Data Sheet |
![]() Negotiable |
|
||||
![]() |
![]() N80C186XL20 |
![]() |
![]() IC MPU 16BIT 5V 20MHZ 68PLCC |
![]() Data Sheet |
![]() Negotiable |
|
||||
![]() |
![]() N80C186XL25 |
![]() |
![]() IC MPU 16-BIT 5V 25MHZ 68-PLCC |
![]() Data Sheet |
![]() Negotiable |
|
||||
(China (Mainland))








